Wake Forest Univ. Health Sciences (WF) v. Smith & Nephew Inc. (S&N)

 

2011-1105

 

Federal Circuit

August 13, 2012

 

自明性判断における陪審と裁判官との役割分担に関して

 

Summarized by Tatsuo YABE

October 16, 2012

 

 

米国特許出願審査中における自明性の判断は審査官或いは審判部が行うわけですが、訴訟において特許クレームの自明性を判断するときには、事実問題(陪審の判断事項)と法律問題(裁判官の判断事項)が入り組み、どこで線引きをするのかが必ずしも明確ではないと思います。 今回の事件はその線引きを確認するとともに、その線が実はボヤケタ状態で地裁において運用されていること、及び、その運用をCAFCも認めていることを示す判決のひとつと考えます。

 

本事件で問題となったWake Forest社(WF)の特許発明(装置特許と方法特許)は外傷の治療に関し、大きく開口した外傷(傷口)を縫合したり、接着するのではなく、当該傷口に負圧を所定時間与えて傷口の上下の皮質が育つのを助長し、傷を治療するという点がポイントである。 訴訟において被疑侵害者(S&N)側から、3つの先行技術文献が提示されたが、どの文献にも外傷(傷口)を治療するのに負圧を所定時間与えるということは開示されておらず、業界においてもそのような治療が有効であるということは長年に渡って疑問視されており、さらに、本特許の発明者がジャーナルに記事を投稿することさえ業界から圧力を掛けられていたという証言が認められた。 然し、時間の経過と共に当該治療方法が業界で脚光を浴び、今日では300万にも及ぶ患者に当該装置とその手法に基づく治療が施されたという客観的証拠がでている。

 

自明性の判断は事実判断(1966年最高裁Graham判決の4つの事実要因:1.引例の開示内容と範囲;2.当業者のレベル;3.引例とクレームとの差異;4.非自明性を示す客観的証拠)を基に、最終的には裁判官が自明であるか否かの法律判断をします。 尚、事実問題(事実の認定)は陪審の判断事項であって(陪審不在のベンチトライアルの場合には裁判官による事実認定)、陪審の事実認定に関して、CAFCReviewするときの基準は、 Substantial Evidence ruleが妥当する。 即ち、CAFCは陪審が事実認定した事実に対して充分な証拠(Substantial Evidence)で支持されているか否かという基準で判断(review)する。 尚、事実問題に関して両当事者の専門家証言が矛盾する場合には、どちらの専門家証言のほうが信頼度が高いかに関しては陪審が自由に判断できる。 また、自明性の判断において、先行技術文献が複数存在する場合に、それら引例を当業者が組み合わせることに対する動機付けがあるか否かも事実問題であり、陪審の判断事項である()。

 

これら陪審の事実認定が充分な証拠でサポートされていることが確認されれば、それら認定された事実を基に、自明性に関わる法律を適用し、問題となるクレームが自明であるか否かをCAFCは新たにReviewする(即ち、de novo review)。 尚、地裁において判事が陪審に対して事実判断に加えて自明性の最終判断を求めること自体は問題ではない(但し、裁判官があくまで最終の判断者であり、陪審の自明性の最終判断に拘束されることはない)。

 

本事件において結論としては、CAFCは陪審の事実認定をSubstantial Evidence基準で審理し、それら事実認定を肯定し、それらをベースにWFのクレームは非自明であると判断した。 下級審(地裁)においては被疑侵害者S&N社のJMOLの申立てを認め、WF特許クレームを自明と判断した。 拠って、CAFCは地裁のJMOL認定とJMOLにおける自明性判断を破棄し、地裁に差し戻した。

 

今回のCAFC判決においてはGraham要因の第4要件(2次的検討事項、或いは、客観的な検討事項)による非自明性の証拠が、第1〜第3要件の事実認定よるものよりも、遥かに突出しており、WFの特許の非自明性が確認された。しかし本事件の重要争点である陪審と裁判官の役割に関して、Graham要因の第1要因〜第4 要因(引例の開示内容と範囲;当業者のレベル; 引例とクレームとの差異)が陪審の判断事項であり、上記()にあるように、複数の先行技術を当業者が組みあわせることに対する動機(理由)の存在に関しても陪審の判断事項であることが再度確認された。 そうした場合に、素朴な質問として、陪審が自明性の最終判断に帰結するための実質的に全ての要因を判断することになるのではないかという素朴な疑問を払拭できない。言い換えると陪審の事実認定が大きく間違っていない限りは地裁の裁判官はそれに従う当然の帰結として自明性の判断を下すことになると理解される。 地裁の裁判官は陪審に自明性の判断基準を説示するという役割(103条、Graham要因、KSR判決による引例の組み合わせの法理、i4i最高裁判決に基づく被疑侵害者側の挙証責任・・など)を果たすものの(即ち、ルールを説明する司会者の役割)、陪審の認定した事実(Graham要因)に対して自明性に関わる法律(KSR事件の自明性判断の法理、i4i合衆国判決に基づく挙証基準を満たしているかなど・・・)を適用して最終判断をするという役割(事実に法を適用するという役割)を果たすと理解するのが困難である。

 

注意: 上記()は今回の新規な判示事項ではない。 McGinley v. Franklin Sports, Inc. (Fed Cir. 2001)  Winner Int'l Royalty Corp. v. Wang, 202 F.3d 1340, 1348, 53 USPQ2d 1580, 1586 (Fed.Cir. 2000)によって確立している。

 

然るに、今回および過去のCAFC判決(実質は陪審が法律問題にも関与していながら法律問題は裁判官の判断事項とする判決)の真意を理解するための理由付けとしては控訴審(CAFC)において地裁の判決をReviewするときに、自明性に対する最終判断をde novoで判断(地裁判事の判断に一切拘束されることなくCAFCが独自に判断できる)できるという点があると思料します。 拠って、地裁判決に不服を唱える当事者に対して、控訴審であるCAFC(実質的に特許裁判における最高裁)で正当で且つ公平な判断を受けられるということが法律で担保されているということでしょうか?。

 

諸先輩兄のアドバイスをお願いします:

yabe.tatsuo@yahoo.com

 

 

++++++++++++++++++++++++++++++++++++++++++++++++++++++++++++++++++

(以下判決の概要) 

判決原文こちら

 

多数意見:  Bryson判事、O’Malley判事、(Written by Judge O’Malley)

Concurring意見(結論は同じ、理由が異なる意見): Dyk判事

 

原告(特許権者): Wake Forest (WF)

被告(被疑侵害者): Smith & Nephew (S&N)

 

控訴理由:(控訴に至る経緯)

地裁にて、被告S&NJMOLの申立てを認め、陪審の評決(S&N主張、「WFのクレームは自明」を否定)を破棄した。 即ち、原告WFの特許クレームは自明で、無効であるとJMOLで判示された。 WFはこれを不服とし、CAFCに控訴した。

 

CAFC判決: 

陪審の事実認定に基づき、陪審の評決(S&NWFのクレームの自明性を証明できなかった)を支持する。 ( 即ち、WFの特許クレームは非自明である) JMOLを認めた地裁の判断は間違いであり、地裁判決を破棄・差し戻しとする。

 

 

特許権者: Wake Forest Univ. Health Sciences (WF)

専用実施権者: KCI (Kinetic Concepts, Inc.; KCI Licensing Inc.; KCI Medical Resources: KCI Manufacturing; and Medical Holdings Limited)

 

問題となった特許とクレーム:

 

1)      USP7,216,651 (651 特許) – Apparatus Claims 2 & 5;

2)      USP5,645,081 (081 特許) – Method Claims 42, 109, 116, & 121.

 

従来は広く開口した傷口を治療するために、縫合であるとか、ステープルするという手法が用いられていたが、これらの手法では傷口の皮膚に大きな負荷(引張力)を与え、その周辺の皮膚組織に亀裂をもたらすという問題があった。 上記特許の発明においては、当該問題を解消するために、傷口周囲の上皮と下皮が傷口を覆う方向に移動するように負圧 (negative pressure)を当該傷口とその周辺に与え、当該傷口が塞がるのに十分な時間、当該負の圧力を維持するというものである。

 

081 特許のクレーム2

 

2. An apparatus for facilitating the healing of wounds, comprising:

 

2. An apparatus for facilitating the healing of wounds, comprising:

vacuum means for creating a negative pressure between about 0.1 and 0.99 atmospheres on the area of skin including and surrounding the wound;

sealing means operatively associated with said vacuum means for maintaining said negative pressure on said wound by contacting the skin surrounding said wound; and

open-cell polymer for positioning at the wound within the sealing means for preventing the over-growth of tissue in the wound.

 

651 特許のクレーム42

 

42. A method of treating a wound comprising the steps of:

 

42. A method of treating a wound comprising the steps of:

i. providing a vacuum source capable of providing at least 0.11 atm of reduced pressure;

ii. locating a flexible adhesive cover over the wound, said cover having a suction port;

iii. locating a porous material comprising a syn-thetic polymer under said cover at the wound;

iv. adhesively sealing and adhering the periphery of said cover to tissue surrounding the wound to form a continuous seal;

v. operably connecting said suction port with said vacuum system for producing said reduced pressure;

vi. interposing a fluid trap between said suction port and said vacuum source; and

vii. maintaining reduced pressure of at least 0.11 atm at the wound until the wound had progressed toward a selected stage of healing.

 

 

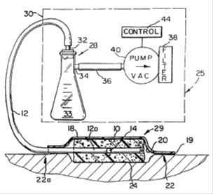
651 特許の図1

 

 

 

As depicted in this figure, the claimed apparatus includes: (1) a vacuum pump (30) ; (2) tubing (12); (3) an open-celled foam wound screen (10); and (4) an adhesive seal (18). ’651 patent col.6 ll.31–61; see also ’081 patent col.2 ll.30–35 (“FlG. 1 shows a cross-sectional view of a negative pressure device comprising an open-cell polymer screen, a flexible hose connecting the foam section to a suction pump, and a flexible polymer sheet overlying the foam-hose assembly to provide the necessary seal.”). To utilize the apparatus, “first, the open cell foam is cut to fit the shape of the wound and placed inside the wound. Then the adhesive seal is placed over the foam that is inside of the wound.

 

 

判決の要旨:

 

Issue

地裁がS&NJMOLの申立てを認め、NF特許を自明と判断したことが正しかったか否かを判断する。

 

Rules/Laws

 

CAFCにおける審理の基準:

 

自明性の判断は事実判断に基づく法的判断事項である。 

 

拠って、陪審の事実認定(明白なものと示唆されるもの両方)を「十分な証拠; substantial evidence」の立証基準で審理し、法的結論としての自明性に対しては、十分な証拠で支持されたと判断される事実認定に基づき、法律問題(自明であるか否か)が正しく判断されたか否かを「新規;de novo」の立証基準で審理する。

 

自明性に関する法律と立証基準:

 

1)米国特許法103(a)項に特許の自明性が規定されている。

 

2)自明性は、Graham v John Deer最高裁判決(1966)で判示された以下の事実要因(Graham Factors)を基準に判断される法律問題である:

 

A)               先行技術文献の範囲とその内容;

B)                クレームと先行技術文献との差異;

C)                当業者のレベル;と

D)               非自明をサポートする客観的証拠

 

3)挙証責任は自明性を主張する側の当事者が負担する。

 

4)自明性を立証するには、当事者であれば先行技術文献を組み合わせて問題となるクレーム発明を達成することを動機づけが存在したであろうということと、当業者にとって成功に対する合理的な期待をもてたであろうということを「明白且つ説得性のある証拠」で立証しなければならない。Procter & Gamble v. Teva Pharm USA (Fed Cir. 2009)

 

5)複数の先行技術のそれぞれに開示された構成要素を組み合わせることに対するTSMの存在を検討することは自明性判断にとって重要であるが、それは広い範囲で、柔軟に判断されなければならない。(TSMの存在を硬直的に判断するのは間違いである) KSR v. Teleflex (最高裁:2007)

 

 

*****************************************************************

 

上記に基づきCAFCは地裁が下したJMOLに対する判決が正しかったか否かを検討する。

 

まずは陪審が事実認定をしたGraham要因(上記4つの事実認定)に関して、十分な証拠(substantial evidence)でサポートされているか否かを審理する。

 

A.      Scope and Content of the Prior Art

 

1.       Bagautdinov References

Bagaudinov引例は、化膿した傷より膿を取り除く(吸引する)装置を開示している。Bagautdinov引例に、本特許で言うこところの傷の治療、及び、負の圧力を利用して傷口を治療することが開示されているか否かに関して当事者の専門家証言に違いがあったが、陪審はどちらの証人がより確からしいか(証言の信頼性が高いか)を自由に判断する立場にある。 陪審はS&Nの専門家証言よりもWFの専門家証言に高い信頼性があるとの判断には十分な証拠が存在する。拠って、Bagautdinov引例に対する陪審の事実認定は正しい(負の圧力を利用し、本願でいう傷を治療するということは開示されていない) さらに、Bagaitdinov引例には本願発明に対する阻害要因(負の圧力を傷口に長時間与えることは傷口に悪影響を与える)が開示されているという判断にも十分な証拠がある。

 

2.       Zamierowski Reference:

地裁にて、WFの特許は負の圧力によって傷を治療することを要件としていないとしたクレームは解釈は間違いである。Zamierowski引例に、負の圧力を利用して傷口を治療することが開示されているか否かに関して当事者の専門家証言に違いがあったが、陪審はWFの専門家証言に信頼性を認めた。 この事実認定に関しても十分な証拠がある。 拠って、Samierowski引例には、負の圧力を利用し、傷口が所定の段階まで回復するまで負の圧力を維持するあるいは圧力を維持するということは開示されていない。

 

3.       Chariker-Jeter References:

Chariker-Jeter引例に開示されている治療は管状器官に対するものであって、WF特許で言うところの傷の治療に関するものではない。さらに、同引例には管状器官からの漏れが治まると、即座に治療装置の使用を停止することが開示されており、この事実に鑑みても、WF特許発明でいうところの所定時間装置の使用を継続するという特徴に対する阻害要因と認められる。さらに、陪審がWFの専門家証言を採用したという事実認定に対する十分な証拠があると認められる。 拠って、Chariker-Jeter引例には、WF特許で言うところの傷の治療、当該傷を負の圧力で治療することは開示されておらず、むしろ、CharikerJeter 引例には負の圧力を利用し、傷を治療することを否定する開示(teaching away from promoting healing by using negative pressure)があり、Chariker-Jeterが主張するような公用があったことも認められず、公用において負の圧力を所定時間維持できるシールがなかったことを認めるに十分な証拠があったことを支持する。

 

B.      Level or Ordinary Skill in the Art:

本訴訟において両当事者は「当業者のレベル」に関して同意はしていなかったが、S&Nの専門家証言にある医師、看護師、或いは、傷口を治療する所定の訓練を受けた技師のレベルをWF発明にかかわる「当業者のレベル」と推定する。 注意、当業者のレベルを低く設定すると自明性判断において特許権者に有利となる。

 

C.      Difference Between the Claimed Invention and the Prior Art:

各引例とWFの発明との間には多数の相違点が存在するが、本控訴審においては、(1)何れの引例にも負の圧力を利用し、治療することが開示されていない、(2)Bagautdinov引例およびChariker-Jeter引例には本願発明で言うところの傷を治療することが開示されていない、(3)Bagautdinov引例とZamerowski引例には負の圧力を所定時間維持するためのシールが開示されていない。 言い換えると、Zamierowski引例のみが本願発明の傷に対応する治療を開示しており、Chariker-Jeter引例のみが圧力を所定時間維持するシールを開示している。

 

もし仮にこれら全ての引例によってWF発明の全ての構成要素が開示されていたとしても、S&Nは当業者であればこれら引例を組み合わせて、本願発明にいたったであろうというその理由を証明しなければならない。 Innogenetics. N. V. v. Abbott Labs (Fed Cir. 2008: holding that post-KSR “some kind of motivation must be shown from some source, so that the jury can understand why a person of ordinary would have thought of either combining two or more references or modifying one to achieve the patented invention.”

 

重要なのは、引例同士を組み合わせる理由(例:動機付け;筆者注)があるか否かは事実問題である。Transocean Offshore Deepwater Drilling, Inc. v. Maersk Contractor USA Inc (Fed Cir 2010) (citing McGinley v. Franklin Sports, Inc. (Fed Cir. 2001))*1

 

S&Nは当業者であればこれら引例を組み合わせて本願発明に到達したであろうという理由を証明する証拠を一切提示しなかったが、WFはこれら引例を組み合わせて本願発明に到達することはないという理由を証明するに十分な証拠を提示した。

 

D.      Objective Indicia of Nonobviousness:

081特許に対して、陪審は非自明性をサポートする以下の客観的証拠があることを事実認定した。(1)市場での成功;(2)長期間に渡る必要性;(3)発明のコピー;(4)予期されぬ結果;(5)他社による認知;(6)発明当初の疑い。

 

WFは陪審が事実認定した上記項目に対する陳述をした。 WFは本願発明が機能することに対する疑い(skepticism)とそれが直感に反する(counterintuitive)ものであるという証言を業界をリードする専門家より得ている。特に本願発明者Argenta博士の証言によると、本願発明の装置を重症の患者に実験使用することを病院が拒んだが、このまま何もせずに患者を死なすのかそれとも何か手立てをするのかという押し問答で病院側がしぶしぶ賛同したこと、そして驚くことにその重症患者の傷が完治した。 しかし医療業界では当該装置に関する疑惑を払拭することがなかなかできず、Argenta博士が医療ジャーナルに彼の功績を発表するのが困難となった。 このように初期には全く信頼されていなかった治療方法も時間の経過と共に認知され、広く普及し、賞賛された。 今日までに300万人の患者に当該装置が使用され、米国形成外科協会において形成外科業界における最大の進歩であると賞賛された。 さらに、WFは本発明装置が多くコピーされ、商業上の成功を得た。 ・・・()・・・ 上記のように、陪審の事実認定(1)から(5)を支持する充分以上の証拠が存在する。

 

 

E.       Ultimate Conclusion of Obviousness:

CAFCは、陪審による事実認定が充分な証拠でサポートされていると判断し、これら事実認定に基づく自明性の法的結論に対して新たに審理(de novo review)した。 CAFCは、地裁が陪審の事実認定を基礎とし詳細なる検討をしたことは認めるとしたが、S&NJMOLの申立てを認めたのは間違いと判断した。CAFCは以下の項目を列記し、S&Nの自明性の主張を否定し、且つ、地裁がS&NJMOLの申立てを認めた地裁判決を破棄し、差し戻した。 

 

引例同士の組み合わせに関して:

即ち、S&Nは当業者であれば引例同士を組み合わせて本発明を達成するであろうという理由(動機づける)を明瞭に説明する証拠を提示できなかった。 本発明の装置或いは方法を現出するには、少なくともZamierowski引例(本発明で言うところの傷口を治癒する)にChariker-Jeter引例(負圧を所定時間維持する)とを組み合わせる必要がある。しかし地裁の記録のどこにもこれら引例同士を組み合わせることに対する理由付けが存在しない。 これら引例のいずれもそれぞれ単体として患部より流体物(fluid)を吸引するという機能を有効に達成するものであって、これらを組み合わせることに対する動機付けが一切存在しない。さらに、Bagautdinoy引例は化膿部より膿を吸引する技術のみを開示しているので、Zamierowski 引例およびChariker-Jeter引例に組み合わせることに対する動機付けは欠落している。

 

Argenta博士によると、当時は、負圧を所定時間傷口に与えることによって傷口を治癒するという手法を採用する医者はいなかった。全ての医者は傷口から流体が吸引されたと同時に本発明の装置を取り外していた。 本発明の装置を利用し、負圧を利用し、傷口を治療できるということを信じていなかった。 今回の引例においても、負圧による傷口への悪影響を開示したものがある。これは、引例が本発明の本質から離反する(Teaching Away)ことを示す。 要は、負圧によって傷口が治癒できるということを当業者が知らない限りは、これら引例を組み合わせる理由が存在しないということだ。

 

いずれの引例にも負圧を利用し、傷口を治癒するということが開示されていない。 事実、Attinger博士の証言によると081特許出願後7年が経過した時点においても当該装置と手法によって傷口を治癒できるとは信じていなかった。

 

最後に、客観的な証拠(非自明性を証明する)の存在が、本発明の自明性を否定するのに絶大な役割を果たしている。 2次的な考慮事項(客観的証拠と同義:筆者注)は非自明性を立証するための最も有効な証拠になりうる・・・((“Secondary considerations can be the most probative evidence of non-obviousness in the record, and enables….court to avert the trap of hindsight.” quoting Custom Accessories, Inc. v. Jeffrey-Allan Indus. (Fed Cir. 1986)); Ortho-McNeil Pharm v. Mylan Labs (Fed Cir. 2008). (“Objective indicia may often be the most probative and cogent evidence of non-obviousness in the record”.  (quoting Catalina Lighting v. Lamps Plus (Fed Cir 2002))  We require analysis of the objective indicia because they “provide objective evidence of how the patented device is viewed in the marketplace, by those directly interested in the product.”  Demaco Corp v. F. Von Langsdorff Licensing Ltd (Fed Cir 1988).

 

今回のケースにおいて陪審は客観的な証拠のひとつ、ふたつを事実認定したというレベルではなく、客観的証拠になりうるほとんど全ての項目に対して強力な証拠で立証されている。 これら客観的証拠によってGraham要因の最初の3つの要因がサポートされており、本発明のクレームは引例に開示された構成要素の自明な組み合わせであるという見方を明白に否定する。

 

結論:

 

S&Nは本特許クレームの自明性を明白且つ説得性のある挙証責任の下に証明することができなかった。 地裁がS&NJMOLの申立てを認め、当該特許を自明と判断したのは間違いである。 拠って、地裁判決を破棄・差し戻しとする。

 

 

 

*1) McGinley v. Franklin Sports, Inc. (Fed Cir. 2001)

Whether a motivation to combine prior art references has been demonstrated is a question of fact. Winner Int'l Royalty Corp. v. Wang, 202 F.3d 1340, 1348, 53 USPQ2d 1580, 1586 (Fed.Cir. 2000) *2★). The assessment of whether to combine references in a given case has sometimes been viewed conceptually as a subset of the first Graham factor, the scope and content of the prior art. See, e.g., id.; Monarch Knitting Mach. Corp.v. Sulzer Morat Gmbh, 139 F.3d 877, 881-83, 886, 45 USPQ2d 1977, 1981-82, 1985 (Fed.Cir. 1998). Although that view is not incorrect, accurate assessment of whether to combine references may require attention to other Graham factors. For example, the level of skill in the art may inform whether the artisan would find a suggestion to combine in the teachings of an exemplar of prior art. Where the level of skill is high, one may assume a keener appreciation of nuances taught by the prior art. Similarly, appreciation of the differences between the claims in suit and the scope of prior art references — a matter itself informed by the operative level of skill in the art — informs the question of whether to combine prior art references. At bottom, in each case the factual inquiry whether to 1352*1352 combine references must be thorough and searching.

 

 

*2) Winner Int'l Royalty Corp. v. Wang, 202 F.3d 1340, 1348, 53 USPQ2d 1580, 1586 (Fed.Cir. 2000)

There is no question here that FSI presented sufficient evidence at trial from which a jury could have decided that one of ordinary skill in this case would have been motivated to combine Pratt and Morgan to produce a prima facie obvious invention. Specifically, FSI argued to the jury that the only elements of the asserted claims that are not clearly anticipated by Pratt are the finger-shaped marks that orient the ball with respect to the palm of the user's hand. Referring to the "phantom lines" in Pratt as suggestive of finger placement on the ball, FSI argued that one of ordinary skill would have been motivated to substitute the finger marks from the Morgan ball for the circular marks on Pratt, or alternatively to place three sets of marks on the Morgan ball in the light of Pratt's teachings. In addition, FSI argued that one of ordinary skill would have known to add the finger orientation means of the Morgan patent to Pratt by "filling in" the phantom lines in Pratt's drawings and treating them as finger orientation means.

The dispute here focuses on the combinability of the prior art. When an obviousness determination is based on multiple prior art references, there must be a showing of some "teaching, suggestion, or reason" to combine the references. Gambro Lundia AB v. Baxter Healthcare Corp., 110 F.3d 1573, 1579, 42 USPQ2d 1378, 1383 (Fed.Cir.1997) (also noting that the "absence of such a suggestion to combine is dispositive in an obviousness determination"). Whether motivation to combine the references was shown we hold a question of fact. See In re Dembiczak, 175 F.3d 994, 1000, 50 USPQ2d 1614, 1617 (Fed.Cir.1999) ("[P]articular factual findings regarding the suggestion, teaching, or motivation to combine serve a number of important purposes . . . .") (emphasis added); Monarch Knitting, 139 F.3d at 881-83, 886, 45 USPQ2d at 1982, 1985 (treating motivation to combine issue as part of the scope and content of the prior art and holding that genuine issues of fact existed as to whether one of ordinary skill in the art would have been motivated to combine the references in question).

Evidence of a suggestion, teaching, or motivation to combine prior art references may flow, inter alia, from the references themselves, the knowledge of one of ordinary skill in the art, or from the nature of the problem to be solved. See Dembiczak, 175 F.3d at 999, 50 USPQ2d at 1617. Although a reference need not expressly teach that the disclosure contained therein should be combined with another, see Motorola, Inc. v. Interdigital Tech. Corp., 121 F.3d 1461, 1472, 43 USPQ2d 1481, 1489 (Fed.Cir.1997),[6] the showing of 1349*1349 combinability, in whatever form, must nevertheless be "clear and particular." Dembiczak, 175 F.3d at 999, 50 USPQ2d at 1617.